|
|
Rotterdam
KLINGER The NetherlandsNikkelstraat 2 3067 GR Rotterdam
Elsloo
KLINGER Service Center LimburgBusiness Park Stein 208A 6181 MB Elsloo
Velsen-Noord
KLINGER The NetherlandsRooswijkweg 200 1951 MD Velsen-Noord
Moordrecht
Hadro Techniek Zuidbaan 351 2841 MD Moordrecht |
Spoed of vragen over de beschikbaarheid?
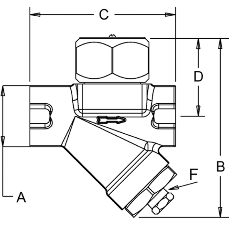
| Type | CD-72S |
| Materiaal | Staal ASTM A105N / A350 LF2 Cl. 1 |
| Klep | ASTM A276 Gr. 420 |
| Zitting | 17-4 PH |
| Werkdruk max. | 41 bar |
| Werkdruk min. | 0,24 bar |
| Ontwerpdruk | 70 bar / 400ºC |
|
|
|
| Aansluitingen | BSPT of NPT draad, SW en EN of ANSI flens |
|
|
|
| Temperatuur | Max. 400ºC |
Voor meer informatie over onze condensaatsystemen kunt u contact opnemen met: