|
|
Rotterdam
KLINGER The NetherlandsNikkelstraat 2 3067 GR Rotterdam
Elsloo
KLINGER Service Center LimburgBusiness Park Stein 208A 6181 MB Elsloo
Velsen-Noord
KLINGER The NetherlandsRooswijkweg 200 1951 MD Velsen-Noord
Moordrecht
Hadro Techniek Zuidbaan 351 2841 MD Moordrecht |
Spoed of vragen over de beschikbaarheid?
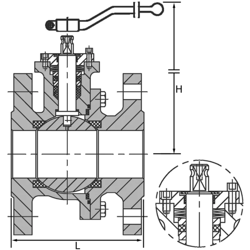
| Type | KP-2520 |
| Materiaal | RVS GX5CrNiMo19-11-2 |
| Drukklasse | PN 40 / PN 16 |
| Kogel | RVS GX5CrNiMo19-11-2 |
| Spindel | RVS X5CrNiMo17-12-2 |
| Handgreep | WCB |
| Afd.elementen | Gemodificeerd PTFE |
| Spindelafdichting | PTFE+FG |
|
|
|
| Inbouwlengte | EN558-1 serie 14 (DIN 15 t/m DN 100) |
| EN558-1 serie 15 (DN 125 t/m DN 250) | |
| Aansluiting | EN1092-01 |
|
|
|
| Temperatuur | -50°C tot +240°C (druk en temperatuur afhankelijk) |
|
|
|
| Opmerking | Afhankelijk van de toepassing wordt vanaf DN 150 een mechanische aandrijving geadviseerd. |
Voor meer informatie over onze kogelkranen kunt u contact opnemen met: