|
|
Rotterdam
KLINGER The NetherlandsNikkelstraat 2 3067 GR Rotterdam
Elsloo
KLINGER Service Center LimburgBusiness Park Stein 208A 6181 MB Elsloo
Velsen-Noord
KLINGER The NetherlandsRooswijkweg 200 1951 MD Velsen-Noord
Moordrecht
Hadro Techniek Zuidbaan 351 2841 MD Moordrecht |
Spoed of vragen over de beschikbaarheid?
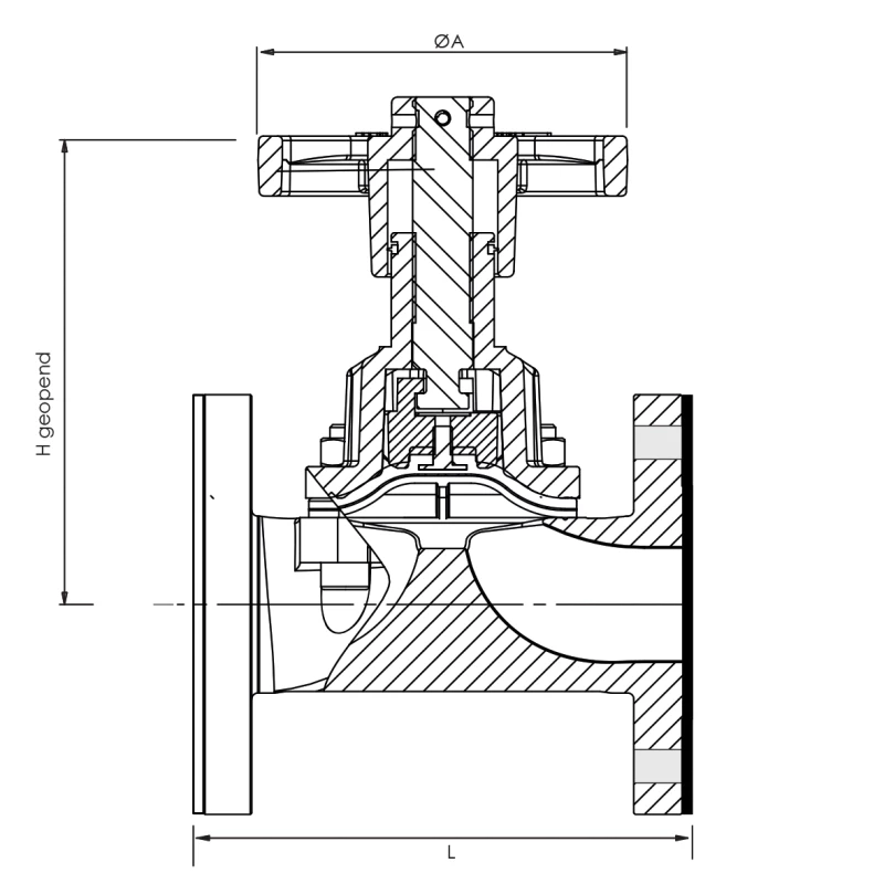
| Type | KP-9331 |
| Materiaal | Nodulair gietijzer ASTM A395 60-40-18 met hard rubber lining HRL |
| Drukklasse | PN16 t/m DN50 ,PN10 DN65 t/m DN150 |
| Bovendeel | DN15 & DN20 staal ASTM A216 gr WCB |
| DN32 en DN65 gietijzer ASTM A126 CI B | |
| overige nodulair gietijzer A395 60-40-18 | |
| Handwiel | Gietijzer ASTM A126 CI B |
| Spindel | RVS ASTM 304 |
|
|
|
| Inbouwlengte | EN558-1 serie 1 |
| Aansluiting | EN1092-1 PN16 |
|
|
|
| Temperatuur | EPDM membraan 140°C max |
Voor meer informatie over onze afsluiters kunt u contact opnemen met: